電話:0577-66996885
傳真:0577-66995778
手機:13353386068
Q Q:2219968630
網址:www.qzsmhotel.cn
地址:浙江省永嘉縣甌北鎮三橋工業區
【QBY型工程塑料氣動隔膜泵】結構原理:
在氣動隔膜泵的兩個對稱工作腔中A,B中各裝有一塊隔膜,由中心連桿將其結合成一體。壓縮空氣從泵的進氣口進入配氣閥,通過配氣機構將壓縮空氣引入其中一 腔,推動腔中隔膜運動,而另一腔中空氣排出,一旦到達行程終點,配氣機構自動將壓縮空氣引入另一工作腔,推動隔膜相反方向運動,從而使兩個隔膜連續同步地 往復運動。
在圖中壓縮空氣由進口進入配氣閥,使膜片向右運動,則A室吸力使介質由C入口流入,推開球閥2進入A室,球閥4則因吸入閉鎖,B室中的介質則被擠壓,推開球閥3由D流出同時使1閉鎖,防止回流,就這樣循環往復使介質不斷從C入口吸入D出口出排出。
適用場合:
由于氣動隔膜泵具有以上特點,所以在世界上隔膜泵自從誕生以來正逐步侵入其他泵的市場,并占有其中的一部分。如:噴漆、陶瓷業中隔膜泵已占有的主導地位,而在其他的一些行業中,像環保、廢水處理、建筑、排污、精細化工中正在擴大它的市場份額,并具有其他泵不可替代的地位。氣動隔膜泵的優勢在于:
1、由于用空氣作動力,所以流量隨背壓(出口阻力)的變化而自動調整,適合用于中高粘度的流體。而離心泵的工作點是以水為基準設定好的,如果用于粘度稍高的流體,則需要配套減速機或變頻調速器,成本就大大的提高了,對于齒輪泵也是同樣如此。
2、在易燃易爆的環境中用氣動泵可靠且成本低,如燃料、火藥、炸藥的輸送,因為:、接地后不可能產生火花;第二、工作中無熱量產生,機器不會過熱;第三、流體不會過熱因為隔膜泵對流體的攪動*小。
3、在工地惡劣的地方,如建筑工地、 工礦的廢水排放、由于污水中的雜質多且成分復雜,管路易于堵塞,這樣對電泵就形成負荷過高的情況,電機發熱易損。氣動隔膜泵可通過顆粒且流量可調,管道堵塞時自動停止至通暢。
4、另外隔膜泵體積小易于移動,不需要地基,占地面極小,安裝簡便經濟。可作為移動式物料輸送泵。
5、在有危害性、腐蝕性的物料處理中,隔膜泵可將物料與外界完全隔開。
6、或是一些試驗中保證沒有雜質污染原料。
7、可用于輸送化學性質比較不穩定的流體,如:感光材料、絮凝液等。這是因為隔膜泵的剪切力低,對材料的物理影響小。
工作特點與優點:
1、以壓縮空氣為動力。
2、在泵的兩個對稱工作腔中,各裝有一塊有彈性的隔膜,聯桿將兩塊隔膜結成一體,壓縮空氣從泵的進氣接頭進入配氣閥后,推動兩個工作腔內的隔膜,驅使聯桿聯接的兩塊隔膜同步運動。與此同時,另一工作腔中的氣體則從隔膜的背后排出泵外。一旦到達行程終點。配氣機構則自動地將壓縮空氣引入另一個工作腔,推動隔膜朝相反方向運動,這樣就形成了兩個隔膜的同步往復運動。每個工作腔中設置有兩個單向球閥,隔膜的往復運動,造成工作腔內容積的改變,迫使兩個單向球閥交替地開啟和關閉,從而將液體連續地吸入和排出。
因此隔膜泵具有以下特點:
(1)泵不會過熱:壓縮空氣作動力,在排氣時是一個膨脹吸熱的過程,氣動泵工作時溫度是降低的,無有害氣體排出。
(2)不會產生電火花:氣動隔膜泵不用電力作動力,接地后又防止了靜電火花
(3)可以通過含顆粒液體:因為容積式工作且進口為球閥,所以不容易被堵。
(4)對物料的剪切力極低:工作時是怎么吸進怎么吐出,所以對物料的攪動*小,適用于不穩定物質的輸送
(5)流量可調節,可以在物料出口處加裝節流閥來調節流量。
(6)具有自吸的功能。
(7)可以空運行,而不會有危險。
(8)可以潛水工作。
(9)可以輸送的流體極為廣泛,從低粘度的到高粘度的, 從腐蝕性得到粘稠的。
(10)沒有復雜的控制系統,沒有電纜、保險絲等。
(11)體積小、重量輕,便于移動。
(12)無需潤滑所以維修簡便,不會由于滴漏污染工作環境。
(13)泵始終能保持高效,不會因為磨損而降低。
(14)百分之百的能量利用,當關閉出口,泵自動停機,設備移動、磨損、過載、發熱
(15)沒有動密封,維修簡便避免了泄漏。工作時無死點。
【QBY型工程塑料氣動隔膜泵】主要用途:
1.泵吸花生醬、泡菜、土豆泥、小紅腸、果醬、蘋果醬、巧克力等。
2.泵吸油漆、樹膠、顏料。
3.粘合劑和膠水、全部種類可用泵吸取。
4.各種瓦、瓷、磚器及陶器釉漿。
5.油井鉆好后,用泵吸沉積物及灌漿。
6.泵吸各種乳劑和填料。
7.泵吸各種污水。
8.用泵為油輪,駁船清倉吸取倉內污水。
9.啤酒花及發酵粉稀漿、糖漿、糖蜜。
10.泵吸礦井、坑道、隧道、選礦、礦渣中的積水。泵吸水泥灌漿及灰漿。
11.各種橡膠漿。
12.各種磨料、腐蝕劑、石油及泥漿、清洗油垢及一般容器。
13.各種劇毒、易燃、易揮發液體。
14.各種強酸、強堿、強腐蝕液體。
15.各種高溫液體*高可耐150℃。
16.作為各種固液體分離設備的前級送壓裝置
【QBY型工程塑料氣動隔膜泵】應用實例:
1、油罐清底,盡管有墊水法抽油,也不能保證將油抽凈,表面總要剩下至少3-5mm厚的油層。以5000m3油罐為例,每次大約損耗1-1.5t油。對于有低位脫水槽的油罐,雖可將剩下的油和水排放到含油污水處理場回收,但是揮發的油品在輸送過程中大都揮發殆盡,且污染環境。
2、臨時倒罐、裝卸車和油品采樣,煉油生產調度過程中,油品經常要臨時倒罐、裝車和對油罐中油品采樣檢驗。或者為了不至于污染正常的管線時,用隔膜泵接臨時管線可以迅速方便地完成此項任務。
3、油輪倉底油回收一條3000t的油輪用固定螺桿泵卸油,倉庫隔板之間至少要剩余50t油,若用排量較大的隔膜泵,可以收到很好的效果。
4、瓦斯、硫化氫殘液的輸送煉油廠火炬底部的瓦斯殘液和含硫水,需要集中排放和處理,否則會形成酸性腐蝕設備。
5、陶瓷行業:用該泵抽吸釉漿,并可用于向壓濾機送壓。
6、下水井、暗溝排除漬水、污油在下水井管道,閥門及暗溝檢修時,需要排除漬水和污油。用潛水泵雖可抽盡潰水,但往往這些地方都遠離電源,很不方便。使用隔膜泵則可采用壓縮氣瓶作動力,回收污油,排泄潰水。
7、污水處理場和污泥池的清掃污水處理場的污泥池,常常聚積大量的油泥和淤沙,需要清掃,采用隔膜泵抽吸靈活、方便省工、省力、省時。
8、液化氣泵房和化驗室排漬水,由于這些地方地勢較低,又是一級防火區,采用隔膜泵排漬水比較安全,比用水抽子、汽抽子效率高出好多倍。
9.此外,此泵應用于環烷酸精制轉料,裝車亞硫酸納液體輸送,苯類原料裝卸車等方面都有它自己的優勢。
【QBY型工程塑料氣動隔膜泵】使用注意事項:
1.本泵振動極其輕微,一般情況可不裝底腳螺栓。
2.如壓縮空氣有臟物進入,將會影響泵的正常啟動,建議用戶加裝氣動三聯件。
3.在抽吸易凍結的介質時,應在泵的進口處裝閥門,當停止用泵時,先將該閥關閉,然后再開泵數分鐘,將泵體介質排凈為止以免造成下次開泵困難更換隔膜時,須將泵內腕連桿,鉛套清洗干凈,并不要損壞白色四氟密封圈,按原樣裝好,即可使用。
【QBY型工程塑料氣動隔膜泵】產品簡介:
QBY系列工程塑料氣動隔膜泵是一種新型輸送機械,是目前國內*新穎的一種泵類。采用壓縮空氣為動力源,對于各種腐蝕性液體,帶顆粒的液體,高粘度、易揮發、易燃、劇毒的液體,均能予以抽光吸盡。其性能參數與聯邦德國的WLLDENPVMPS、美國的MARIOWPUMPS相近。 海坦泵業目前已形成系列化生產,共有八種規格直徑:φ10mm(3/8’)、φ15mm(1/2’)、φ25mm(1’)、φ40mm(11/2’)、φ50mm(2’)、φ65mm(21/2’)、φ80mm(3’)、φ100mm(4’)。五種材質:鋁合金、鑄鐵、不銹鋼、工程塑料、襯氟塑料。隔膜泵根據不同液體介質分別采用丁晴橡膠、氯丁橡膠、氟橡膠、聚四氟乙烯隔膜。以滿足不同用戶的需要。 該泵自1986年投產以來,已被國內一千多家石油、化工、電子、陶瓷、紡織系統單位采用,安置在各種特殊場合,用來抽送種常規泵不能抽吸的介質,均取得了滿意的效果。
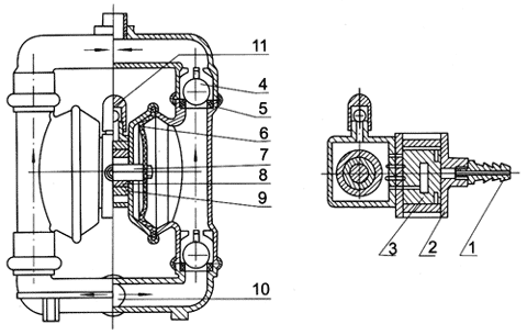
【QBY型工程塑料氣動隔膜泵】結構圖:
|
1 |
進 氣 口 |
4 |
圓 球 |
7 |
連 桿 |
10 |
泵進口 |
|
2 |
配氣閥體 |
5 |
球 座 |
8 |
連桿銅套 |
11 |
排氣口 |
|
3 |
配 氣 閥 |
6 |
隔 膜 |
9 |
中間支架 |
|
|
【QBY型工程塑料氣動隔膜泵】性能參數:
|
名稱 |
型號 |
流量 |
揚程 |
出口壓力 |
吸程 |
*大允許能 |
*大供氣壓力 |
*大供氣消耗量 |
材質 |
|||
|
鋁合金 |
不銹鋼 |
鑄造鐵 |
增強聚丙烯 |
|||||||||
|
工程塑料氣動隔膜泵 |
QBY-10 |
0~0.8 |
0~50 |
6 |
5 |
1 |
7 |
0.3 |
★ |
★ |
★ |
★ |
|
QBY-15 |
0~1 |
0~50 |
6 |
5 |
1 |
7 |
0.3 |
★ |
★ |
★ |
★ |
|
|
QBY-25 |
0~2.4 |
0~50 |
6 |
7 |
2.5 |
7 |
0.6 |
★ |
★ |
★ |
★ |
|
|
QBY-40 |
0~8 |
0~50 |
6 |
7 |
4.5 |
7 |
0.6 |
★ |
★ |
★ |
★ |
|
|
QBY-50 |
0~12 |
0~50 |
6 |
7 |
8 |
7 |
0.9 |
★ |
★ |
★ |
/ |
|
|
QBY-65 |
0~16 |
0~50 |
6 |
7 |
8 |
7 |
0.9 |
★ |
★ |
★ |
/ |
|
|
QBY-80 |
0~24 |
0~50 |
6 |
7 |
10 |
7 |
1.5 |
★ |
★ |
★ |
/ |
|
|
QBY-100 |
0~30 |
0~50 |
6 |
7 |
10 |
7 |
1.5 |
★ |
★ |
★ |
/ |
|
【QBY型工程塑料氣動隔膜泵】安裝尺寸:
|
型號 |
A |
B |
C |
D |
H |
H1 |
H2 |
Φ |
底肢 |
泵進口尺寸 |
泵出口尺寸 |
進氣口 |
重量 |
|
QBY-10 |
140 |
- |
180 |
150 |
225 |
18 |
200 |
- |
Φ8 |
3/8’(絲扣) |
3/8’(絲扣) |
8 |
7 |
|
QBY-15 |
140 |
- |
180 |
150 |
225 |
18 |
200 |
- |
Φ8 |
1/2’(絲扣) |
1/2’(絲扣) |
8 |
7 |
|
QBY-25 |
220 |
170 |
365 |
200 |
480 |
45 |
460 |
- |
Φ10 |
1’(絲扣) |
1’(絲扣) |
10 |
20 |
|
QBY-40 |
220 |
170 |
365 |
250 |
480 |
45 |
460 |
- |
Φ10 |
11/2’(絲扣) |
11/4’(絲扣) |
10 |
24 |
|
QBY-50 |
340 |
230 |
570 |
340 |
740 |
80 |
700 |
110 |
Φ12 |
2’(法蘭) |
2’(法蘭) |
14 |
50 |
|
QBY-65 |
340 |
230 |
570 |
340 |
740 |
80 |
700 |
110 |
Φ12 |
21/2’(法蘭) |
21/2’(法蘭) |
14 |
56 |
|
QBY-80 |
360 |
240 |
600 |
450 |
900 |
105 |
860 |
175 |
Φ14 |
3’(法蘭) |
3’(法蘭) |
16 |
70 |
|
QBY-100 |
360 |
240 |
600 |
450 |
930 |
105 |
860 |
750 |
Φ14 |
4’(法蘭) |
4’(法蘭) |
16 |
78 |
聲明:由于產品一直在更新,本文中所有文字、數據、圖片均只適用于參考,QBY型工程塑料氣動隔膜泵性能參數、QBY型工程塑料氣動隔膜泵使用場合、QBY型工程塑料氣動隔膜泵材質要求、QBY型工程塑料氣動隔膜泵結構、QBY型工程塑料氣動隔膜泵安裝尺寸以及QBY型工程塑料氣動隔膜泵的價格等詳情,我們一定會盡心盡力為您提供優質的服務。

