各種水泵更換機械密封的詳細步驟與技巧方法:
發布時間:2015-3-20 14:07:45 來源:海坦泵業 點擊次數:5083
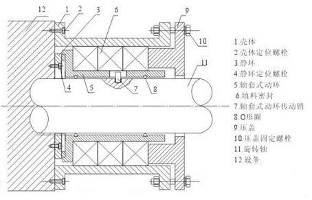
換各種水泵密封的細節,換機械密封的方法
為了保證水泵的正常運轉,一般三個月更換一次機封,本文就如何更換機封以及更換機封的步驟做詳細說明,供大家參考。
工具和原料
活動扳手、套筒扳手、 一字螺絲刀、一字螺絲刀、沙紙、干凈棉布、潤滑脂
維修工作臺、全新機封一套。


換水泵機械密封的方法:1.先裝左邊部分;裝到密封板上2.然后裝右面那個動環,動環跟靜環的密封面要干凈3.再裝平鍵和葉輪.上好墊片和螺母。安裝前要認真檢查集結密封零件數量是否足夠,各元件是否有損壞,特別是動、靜環有無碰傷、裂紋和變形等缺陷。如果有問題,需進行修復或更換新備件。
檢查軸套或壓蓋的倒角是否恰當,如不符合要求則必須進行修整。
機械密封各元件及其有關的裝配接觸面,在安裝前必須用丙酮或無水酒精清洗干凈。安裝過程中應保持清潔,特別是動、靜環及輔助密封元件應無雜質、灰塵。動、靜環表面涂上一層清潔的機油或透平油。
上緊壓蓋應在聯軸器找正后進行。螺栓應均勻上緊,防止壓蓋斷面偏斜,用塞尺或專用工具檢查各點,其誤差不大于0.05毫米。
檢查壓蓋與軸或軸套外徑的配合間隙(及同心度),必須保證四周均勻,用塞尺檢查各點允差不大于0.10毫米。
彈簧壓縮量要按規定進行,不允許有過大或過小的現象,要求誤差±2.00毫米,過大會增加斷面比壓,加速斷面磨損。過小會造成比壓不足而不能起到密封作用,彈簧裝上后在彈簧座內要移動靈活。用單彈簧時要注意彈簧的旋向,彈簧的旋向應與軸的轉動方向相反。
動環安裝后須保持靈活移動,將動環壓向彈簧后應能自動彈回來。
先將靜環密封圈套在靜環背部后,再裝入密封端蓋內。注意保護靜環斷面,保證靜環斷面與端蓋中心線的垂直度,且將靜環背部的防轉槽對準防轉銷,但勿使其中互相接觸。
安裝過程中決不允許用工具直接敲打密封元件,需要敲打時,必須使用專用工具進行敲打,以防密封元件的損壞
組裝時所有密封圈應該涂以肥皂水等潤滑劑,這樣可以避免組裝過程中損壞膠圈。動靜環的密封面之間涂以潤滑脂,防止動靜環密封面在水泵開車前磨損。
浮動環組裝時,一定要小心不要碰倒浮動環彈簧,以免彈簧碰倒后影響浮動環的浮動性能。浮動環組裝后,可以輕輕按浮動環,以確定是否就有良好的浮動性能。
安裝密封時應輕拿輕放,防止損壞密封件,安裝時應將密封及腔體擦洗干凈。
緊固機械密封壓蓋時緊固螺栓應均勻受力,防止受力不均損壞機械密封。對于快裝式機械密封在整體組裝完畢后一定不要忘記將定位片徑向移動道遠離軸的位置固定。
因為機械密封所密封的介質是不同的,涼水和熱水的溫度不同,密封的介質是否具有腐蝕性,腔室內壓力的不同,機械密封的設計就會不同,檢修工藝也會有所差別,
機械密封檢修過程中總結出一些經驗:機械密封要組裝,清掃檢查莫忘記。先看兩環后看軸,傷痕裂紋不要漏。*后在把膠圈看,氣孔直徑要看清。各種尺寸需測量,兩環間隙要調好。緊力一定要校核,小小彈簧是關鍵。螺栓受力要均勻,輕拿輕放好習慣。
水泵機械密封是轉動機械本體密封*有效的方式之一,其本身加工的精度比較高,尤其是動、靜環,如果拆裝方法不合適或使用不當,裝配后的機械密封不但達不到密封的目的,而且會損壞集結的密封元件。
機械密封拆卸時注意事項
在拆卸機械密封時,嚴禁動用手錘和扁鏟,以免損害密封元件。
如果在泵兩端都有機械密封時,則在拆卸過程中必須小心謹慎,防止顧此失彼。
對工作過的機械密封,如果壓蓋松動時密封面發生移動的情況,則應更換動靜環零件,不應重新上緊繼續使用。因為在松動后,摩擦副原來運轉軌跡會發生改變,接觸面的密封性就很容易遭到破壞。
如密封元件被污垢或凝聚物粘結,應清除凝結物后再進行機械密封的拆卸。
