海坦設計新型立式自吸泵結構優點及功能分析
發布時間:2014-7-18 9:15:40 來源:海坦泵業 點擊次數:3338
海坦設計新型立式自吸泵結構優點及功能分析:
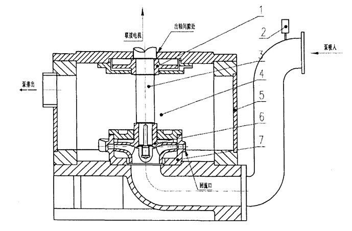
立式自吸泵其動密封是采用副葉輪來代原先的填料或機械密封。泵在工作時,副葉輪隨主葉輪一起旋轉,利用其工作效果使出軸間隙的壓力降至小于或等于大氣壓力,從而達到動密封的效果。
此泵實現一次引流終身自吸的功能,是依靠出水逆止閥的有效關閉和吸入管路上的空氣閥的有效開、閉來實現泵停機時的存液與開機時的自吸。
以上這兩點是立式自吸泵的兩大顯著特點。
立式自吸泵結構圖

1副葉輪 2氣閥(電磁閥) 3 轉軸 4儲液室 5壓出室 6葉輪 7導葉
立式自吸泵性能參數范圍:
●轉速:2900 r/min,1450r/min ●吸液口徑:16~800 mm ●流量:0.75~685 0m3/h
●介質溫度:-40℃~180℃ ●揚程:4~130m ●自吸深度:2.5~7 m
●出液口徑:10~ 600mm ●環境溫度:≤40℃ ●工作壓力:≤1.6 MPa
立式自吸泵廣泛適用于市政排污工程、河塘養殖、電力、化工、冶金、醫藥、食品、消防、環保、電鍍、凈水、市政、國防、紡織、造紙、采礦、建筑等行業。
立式自吸泵在吸收國內外相關產品的先進經驗基礎上,加以改進、創新的產品,是國內傳統同類產品的替換產品。該產品具有耐溫、耐壓、耐磨、“首次引流、自吸”等優點。產品具鑄鐵、鑄鋼、不銹鋼、增強聚丙烯等材質。各種不同造型多種規格。本產品具有高效節能,結構獨特等功能。產品投放市場后以其獨特的設計,可靠的質量受到廣大用戶的歡迎和好評,被許多單位選為代替進口產品。
感謝您訪問永嘉縣海坦泵業有限公司網站:http://www.qzsmhotel.cn/ProList/T154 如有任何水泵疑問我們一定會盡心盡力為您提供優質的服務
